国民养老保险公司完成工商注册 公司股东共17家

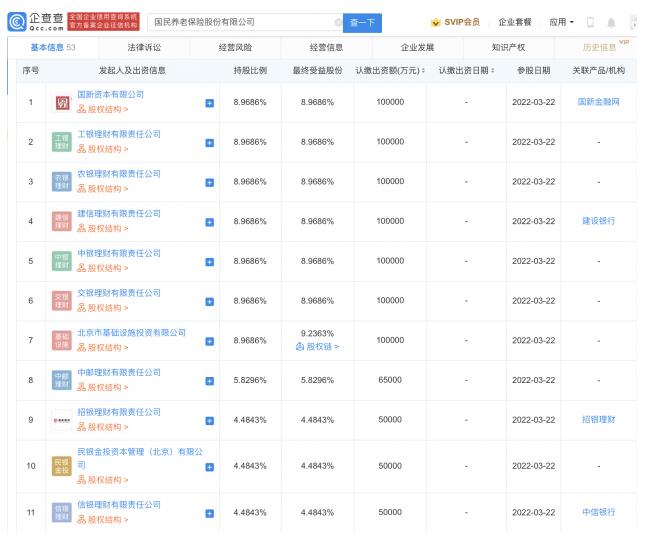
企查查APP显示,3月22日,国民养老保险股份有限公司成立,注册资本111.5亿元人民,经营范围包含:保险业务;保险资产管理,黄涛任法定代表人、董事、经理,叶海生任董事长。企查查股权穿透显示,该公司股东共17家,包括国新资本有限公司、北京市基础设施投资有限公司、招银理财有限责任公司等。据新华网报道,该公司将聚焦国家第三支柱养老保险的重要部署,向社会提供差异化、辨识度高、商业可持续、易于老百姓理解的稳健适用的养老产品解决方案。


关键词: 国民养老保险公司 工商注册 公司股东 保险业务

推荐DIY文章
联想预热新一代YOGA笔记本 采用弧形边缘扬声器开孔位于侧边
realme Narzo 50A Prime手机发布 支持800万像素自拍相机
vivo平板电脑外观曝光 窄边框设计后置较大镜头模组
华硕发布新款灵耀X14笔记本 搭载14 英寸16:10屏屏占比92%
iPhone 14 Pro CAD设计图曝光 将采用单孔+小药丸组合方案
三星2022款Q60B系列电视海外上市 采用量子点技术
it